|
|
GСL-20Т. Каретка приводная для талей г/п до 20 000 кг.
Производитель: TOR
|
|
Каретка приводная GСT-20,0 для талей г/п до 20 000 кг. с высотой подъема груза 3, 6, 9, 12м.

|
Тележка приводная для тали (кошка грузовая) предназначена для перемещения груза или тали по балке двутаврового профиля.
Кошка может эксплуатироваться как в закрытом помещении, так и на открытом воздухе. Разрешается эксплуатация кошки при температуре окружающей среды от -20 до +40°С.
Оборудование марки TOR, представленное в России и странах Таможенного союза, полностью соответствует Техническому регламенту Таможенного союза ТР ТС 010/2011 «О безопасности машин и оборудования».
Продукция, поставляемая на рынок стран Европейского союза, соответствует требованиям качества Directive 2006/42/EC on Machinery Factsheet for Machinery и имеет сертификат CE.
|
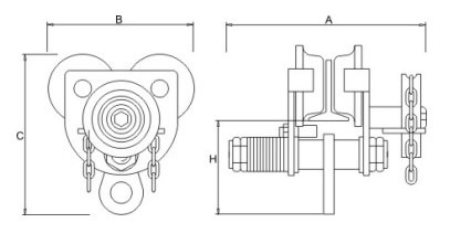
ТЕХНИЧЕСКИЕ ХАРАКТЕРИСТИКИ приводной каретки марки GCL-20,0Т
Основные характеристики |
Артикул |

|
Высота подъема груза, м |
Размеры, мм |
Двутавр-овая балка, мм |
Мин. радиус изгиба, м |
Масса, кг |
Габарит упаковки, мм |
А |
В |
С |
Н |
3 |
450
|
529
|
575 |
315
|
155 - 190 |
5,0 |
51 |
-----
|
104203 |
6 |
53 |
104206 |
9 |
55 |
104209 |
12 |
57 |
1042012 |

Другие товары раздела «Приводная ручная каретка г/п 10,0 т»:

|
710 110
Кошка приводная ручная К-10,0Б для ручной тали г/п до 2000кг. высотой подъема груза 3, 6, 9, 12м.
|

|
711 410
Производитель: TOR
Каретка приводная GСT-10,0 для талей г/п до 10 000 кг. с высотой подъема груза 3, 6, 9, 12м.
|

|
710 306
Производитель: JETlift
Каретка приводная JGT-10 для талей г/п до 10000 кг. с высотой подъема груза 3, 6, 9, 12м.
|

|