|
|
ЛБ-1200. Лебедка 0,5т барабанная ЛБ-1200 (BHW) трос 10/20 м
Производитель: TOR
|
|
Лебёдка тяговая ручная барабанная ЛБ-1200 (BHW) с тяговым усилием 500 кг и длиной троса 10 м и 20 м

|
Барабанные ручные лебедки модели ЛБ (BHW) занимают одну из лидирующих позиций в своем классе. Они надежны и пользуются большим спросом среди потребитилей в различных отраслях промышленности, строительства, обслуживания населения, а так же применимы и в быту. Основное назначение ручных лебедок в перемещении грузов в горизонтальном и вертикальном положении.
* При использовании тяговых ручных лебедок модели ЛБ (BHW), необходимо помнить, что для этих лебёдок указывается тяговое усилие, а грузоподъемность равна 75% от тягового усилия.
Лебедки не предназначены для подъема и перемещения людей. Лебедки не предназначены для работы в пожаро- и взрывоопасных зонах. Температура окружающей среды от -20º до +40ºC.
Допускается эксплуатация лебёдок на открытом воздухе. При попадании воды следует насухо протереть лебедку и при необходимости произвести смазку трущихся позиций.
|
|
|
0
|
Характеристики |
Значение |
Тяговое усилие на перемещение, кг* |
500 |
Тяговое усилие на подъем, кг* |
250 |
Длина троса, м |
10/20 |
Диаметр троса, мм |
5,0 |
Передаточное отношение |
4,2:1 |
Габаритные размеры. мм |
160*160*220 |
Масса, кг |
5,0 |
Артикул |
113054/1006127 |
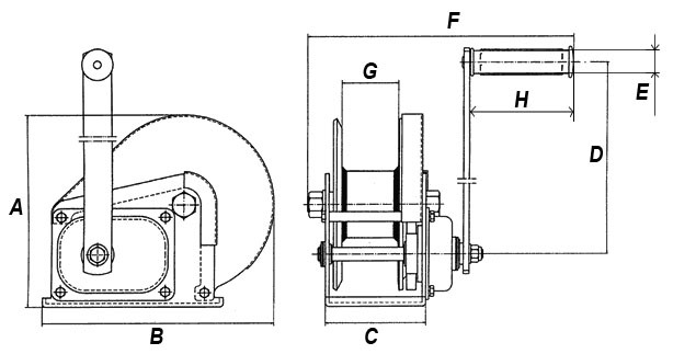
Технические размеры, мм |
A |
B |
C |
D |
E |
F |
G |
H |
156 |
184 |
88 |
210 |
27 |
272 |
51 |
109 |
|

Другие товары раздела «Лебедки ручные барабанные грузоподъемностью 500 - 800 кг»:

|
505 930
Лебедка канатная Дина-2 грузоподъемностью 500 кг и длиной троса 40 м
|

|
505 305
Производитель: TOR
Лебёдка тяговая ручная барабанная ЛТ-0,5Т (JHW) с тяговым усилием 500 кг и длиной троса 40 м
|

|
505 940
Лебедка канатная Дина-2 грузоподъемностью 500 кг и длиной троса 60 м
|

|
505 711
Производитель: TOR
Лебёдка ручная монтажная ЛH-1200 (LHW) тяговое усилие 500 кг с длиной ленты 10 м
|

|
505 570
Производитель: TOR
Лебёдка ручная монтажная ЛФ-2000 (FD) тяговое усилие 800 кг, с длиной троса 10 м и 20 м
|

|
505 440
Производитель: TOR
Лебёдка ручная монтажная ЛФ-1400 (FD) тяговое усилие 500 кг, с длиной троса 10 м и 20 м
|

|
505 950
Лебедка канатная Дина-2 грузоподъемностью 500 кг и длиной троса 65 м
|

|
505 270
Производитель: TOR
Лебёдка ручная монтажная GR-500 тяговое усилие 500 кг и длина троса 20 м
|

|
505 560
Производитель: TOR
Лебёдка ручная монтажная ЛФ-1800 (FD) тяговое усилие 700 кг, с длиной троса 10 м и 20 м
|

|
505 430
Производитель: TOR
Лебёдка ручная монтажная ЛФ-1200 (FD) тяговое усилие 500 кг, с длиной троса 10 м и 20 м
|

|
505 550
Производитель: TOR
Лебёдка ручная монтажная ЛФ-1600 (FD) тяговое усилие 600 кг, с длиной троса 10 м и 20 м
|

|
505 721
Производитель: TOR
Лебёдка ручная монтажная ЛH-1200 (LHW) тяговое усилие 500 кг с длиной ленты 20 м
|

|
505 210
Производитель: TOR
Лебёдка тяговая ручная барабанная ЛБ-1800 (BHW) с тяговым усилием 500 кг и длиной троса 10 м и 20 м
|

|