|
|
ТЛ-1Т. Лебедка 1,0 т барабанная ТЛ-1Т без троса
Производитель: TOR
|
|
Мощная лебёдка тяговая ручная барабанная ТЛ-1Т с тяговым усилием 1000/500 кг без троса

|
Лебедки ручные ТЛ предназначены для перемещения груза в горизонтальном, вертикальном и наклонном положении во время монтажных и погрузочно-разгрузочных работ.
Подъем груза лебедкой осуществляется вращением барабана одной или двумя рукоятками. Опускание осуществляется вращением рукояток в обратном направлении. Установленный храповый механизм торможения позволяет быстро и надежно фиксировать груз.
Лебедка предназначена для работ на открытой местности, при температуре среды ± 40°С. Окружающая среда - невзрывоопасная.
Есть возможность изменения скорости намотки каната, путем изменения передаточного числа механизма ручной лебедки.
|
|

|
Характеристики |
Значение |
Тяговое усилие на первой передаче, кг |
1000 |
Тяговое усилие на второй передаче, кг |
500 |
Усилие на рукоятке, кг |
17,5 |
Канатоемкость барабана, м |
120 |
Диаметр троса, мм |
8,3 |
Габаритные размеры (Д*Ш*В), мм |
425*388*580 |
Количество обслуживающего персонала |
1 чел. |
Масса с канатом, кг |
79 |
Артикул |
113108 |
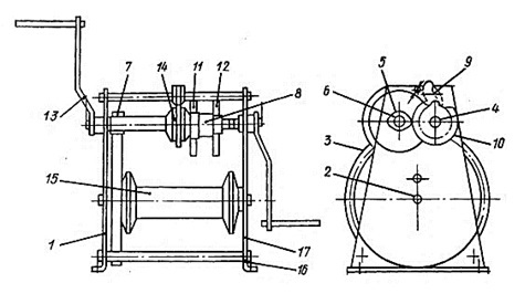
Лебедка ТЛ состоит: Из боковин 1 и 17, стяжные болты 16; Рабочий механизм из параллельных валов 4, 6, 19; осей барабана 2 и 15; Тормоз: собачка 9, храповик 10 и блок 8 шестерен; тормозной диск 14; Зубчатые колеса 3, 7, 11, 12, 18, 20; Рукоятки 13 - 2 шт.; Подшипники скольжения 5.
|

Другие товары раздела «Лебедки ручные барабанные грузоподъемность 1000 кг»:

|
505 310
Производитель: TOR
Лебёдка тяговая ручная барабанная ЛТ-1,0Т (JHW) с тяговым усилием 1000 кг и длиной троса 40 м
|

|
505 970
Лебедка канатная Дина-2 с блоком БМ-1,0-0,1 грузоподъемностью 1000 кг длиной троса 30 м
|

|
505 220
Производитель: TOR
Лебёдка тяговая ручная барабанная ЛБ-2600 (BHW) с тяговым усилием 1000 кг и длиной троса 10 м и 20 м
|

|
505 960
Лебедка канатная Дина-2 с блоком БМ-1,0-0,1 грузоподъемностью 1000 кг длиной троса 20 м
|

|
505 280
Производитель: TOR
Лебёдка ручная монтажная GR-1000 тяговое усилие 1000 кг и длина троса 25 м
|

|
505 230
Производитель: TOR
Лебёдка тяговая ручная барабанная ЛБ-3000 (BHW) с тяговым усилием 1350 кг и длиной троса 10 м и 20 м
|

|
505 810
Производитель: Olimp
Лебёдка ручная барабанная OLW-T тяговое усилие 1100 кг и длина троса 10 м
|

|
505 580
Производитель: TOR
Лебёдка ручная монтажная ЛФ-3000 (FD) тяговое усилие 1200 кг, с длиной троса 10 м и 20 м
|

|
505 741
Производитель: TOR
Лебёдка ручная монтажная ЛH-2500 (LHW) тяговое усилие 1000 кг с длиной ленты 20 м
|

|
505 580
Производитель: TOR
Лебёдка ручная монтажная ЛФ-2500 (FD) тяговое усилие 1000 кг, с длиной троса 10 м и 20 м
|

|
505 731
Производитель: TOR
Лебёдка ручная монтажная ЛH-2500 (LHW) тяговое усилие 1000 кг с длиной ленты 10 м
|

|