|
|
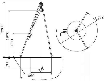
Тренога перегрузочная ТП-250 г/п 250 кг.
Производитель: СВПК
|
|
Тренога перегрузочная ТП-250 предназначена для подъема, удержания, и опускания груза выше или ниже плоскости основания треноги массой до 250 кг.
|
Предназначена для подъема, удержания, и опускания груза выше или ниже плоскости основания треноги при строительно-монтажных, ремонтных и погрузочно-разгрузочных работах в режиме не выше группы режима работы 1М по ГОСТ 25835-83.
Тренога имеет компактные размеры, что обеспечивает работу в условиях ограниченного пространства. Может эксплуатироваться как в закрытом помещении, так и на открытом воздухе. Разрешается эксплуатация при температуре окружающей среды не ниже минус 40С.
|
ЗАПРЕЩАЕТСЯ применение треноги для перемещения пожаро- и взрывоопасных, ядовитых и едких грузов, транспортировки людей, а также для работ во взрыво- и пожароопасных средах, в помещениях, насыщенных парами кислот, щелочей и других веществ приводящих к коррозии поверхностей металла. |
Технические характеристики |
|
Грузоподъемность, кг, не более |
250 |
Группа режима работы по ГОСТ 25835 |
1 М |
Максимальная высота подъема крюка от основания треноги, м |
1,9 |
Максимальная глубина опускания крюка от основания треноги, м |
7,0 |
Допускаемая величина уклона опорной поверхности треноги, не более, град |
5 |
Масса (с лебедкой), кг, не более |
2,7 |
 |
Тренога перегрузочная состоит из треноги и лебедки, которая крепится к треноге стандартными крепежными изделиями. Все сведения о лебедке изложены в паспорте ЛР 250.00.00 ПС (лебедка «Дина»).
Треногога состоит из трех стоек, соединенных между собой кронштейном, на втулке кронштейна закреплена скоба для подвески блока. В нижней части стоек находится замковое устройство, служащее для фиксации изделия в сложенном состоянии.
|

Другие товары раздела «Краны - подъемные устройства»:

|
Кран Умелец
Производитель: СВПК
Подъемник строительный «УМЕЛЕЦ» предназначен для подъема и перемещения во внутрь здания грузов до 320 кг.
|

|
УПМ
Производитель: СВПК
УПМ предназначено для подъема-опускания и перемещения груза массой до 1000кг и Н=3,0м
|

|
Кран Шабашник
Производитель: СВПК
Приспособление грузоподъемное Шабашник предназначено для подъема, удержания, и опускания груза массой не более 150 кг
|

|
Тренога Т-500
Производитель: СВПК
Тренога перегрузочная ТП-500 предназначена для подъема, удержания, и опускания груза выше или ниже плоскости основания треноги массой не более 500 кг.
|

|
КС-500
Производитель: СВПК
Кран строительный Умелец-500, грузоподъемность 500кг, высота подъема груза до 80м
|

|
Кран козловой ручн.
Производитель: ---
Краны предназначены для подъема и перемещения груза весом в пределах номинальной грузоподъемности.
|

|
HE 300
Производитель: Europea
Подъемник типа КБК строительный, разборный грузоподъемностью 300кг, Н=40м, вылет консоли 1,14м, напряжение 220Вт
|

|
Кран козловой ручн.
Производитель: ---
Кран козловой легкий ручного управления.
|

|
HE 500
Производитель: Europea
Подъемник - кран строительный HE500 грузоподъемностью 500 кг, высота подъема до 40м, вылет консолт 1,12м, напряжение 220 Вт
|

|
HE1000
Производитель: Europea
Подъемник строительный HE1000 разборный грузоподъемностью 1000кг, Н=40м, вылет консоли 1,12м, напряжение 380ВТ
|

|