|
|
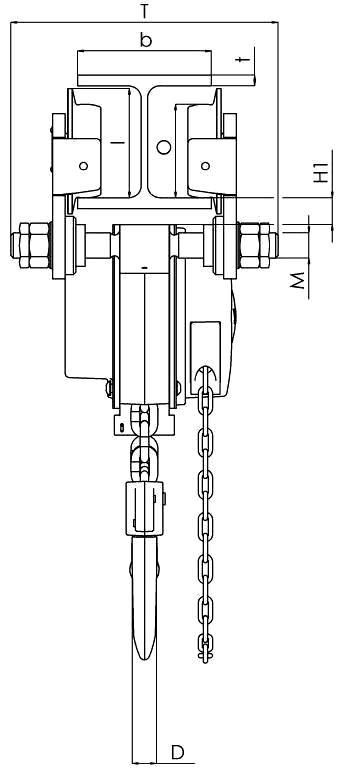
ТРШБМУ-1,0У. Таль ручная передвижная г/п 1 000 кг. ультра
|
|
Таль ручная шестерённая передвижная цепная ТРШБМУ-1,0 с малой строительной высотой и высотой подъема груза 3, 6, 9 и 12м.
|
- Таль ручная шестерённая передвижная ТРШБМУ-1,0 "ультра" с малой строительной высотой и поворотным кожухом тяговой цепи с еще уменьшенной строительной высотой предназначена для подъёма и удержания груза массой до 1000 кг, а также для перемещения груза в поднятом положении по подвесному пути, и его опускания. Тали ТРШБМУ- имеют привод механизма передвижения.
- Ручная таль передвижная с малой строительной высотой ТРШБМУ-1,0 эксплуатируется в закрытом помещении и на открытом воздухе. Эксплуатация тали разрешается при температуре окружающей среды до минус 40 град С.
- Передвижная таль шестеренная ТРШБМУ-1,0 монтируется на однорельсовых двутавровых балках №№ 16, 18, 20, 22, 24, 27 по ГОСТ 8239 и №№ 18М, 24М, 30М, 36М по ГОСТ 19425. По согласованию могут быть изготовлены тали для большой ширины полки (от 150 до 305 мм.)
- Тали шестереные ручные передвижные с малой строительной высотой ТРШБМУ-1,0 изготавливаются только в общепромышленном исполнении. Могут быть изготовлены под заказ во взрывобезопасном и пожаробезопасном исполнении (см. ниже).
|
Основные технические характеристики тали передвижной ТРШБМУ-1,0

|
Характеристика |
Значение |
|
Грузоподъемность тали, кг. |
1000 |
Масса тали, без цепей, кг, не более |
22 |
Тяговое усилие механизма подъема, Н, не более |
300 |
Тяговое усилие механизма передвижения, Н, не более |
95 |
Ход тяговой цепи при подъеме груза на 1м, м. |
48 |
Количество ветвей грузовой цепи |
1 |
Грузовая цепь |
6х18 |
Тяговая цепь |
5х26 |
Допускаесый уклон подвесного пути , мм на 1м пути, не более |
3 |
Радиус кривизны подвесного пути, м, не более |
1,0 |
Высота подъема груза, м |
Артикул |
3 |
107163 |
6 |
107166 |
9 |
107169 |
12 |
107162 |
Тали шестеренные передвижные ТРШБМУ сертифицированы на соответствие требованиям Технического регламента Таможенного союза ТР ТС 010/2011 "О безопасности машин и оборудования" , что подтверждается СЕРТИФИКАТОМ СООТВЕТСТВИЯ.
Пожаробезопасное исполнение.
Таль пожаробезопасная ТРШБМУ-1,0 допускается для эксплуатации в пожароопасных зонах классов П-I; П-II; П-IIа; П-III по классификации ПУЭ-86. Пример обозначения пожаробезопасной тали ТРШБМУ-1,0-П-IIа-У1.1 ТУ 24.09.785-00; где климатическое исполнение/ категория размещения по требованию заказчика и согласованию с производителем могут быть выполнены иные.
Взрывобезопасное (взрывозащищенное) исполнение.
Таль взрывозащищенная передвижная ТРШБУп-Ex-1,0 применяется во взрывоопасных зонах классов 1 и 2 по ГОСТ IEC 60079-10-1-2011 (ГОСТ Р МЭК 60079-10-1-2008) (зоны классов ВIа, ВIг по классификации ПУЭ-7) помещений и наружных установок, в которых возможно образование взрывоопасных смесей категории IIA, IIB и IIC температурных групп Т1, Т2, Т3, Т4 по ГОСТ Р МЭК 60079-20-1-2011.
Тали ручные цепные передвижные ТРШБУп-Ex-,0 сертифицированы на соответствие требованиям Технического регламента Таможенного союза ТР ТС 012/2011 "О безопасности оборудования для работы во взрывоопасных средах" , что подтверждается СЕРТИФИКАТОМ СООТВЕТСТВИЯ.
ЗАПРЕЩАЕТСЯ! применение ручных передвижных талей ТРШАМУ и ТРШБМУ для подъема людей, взрывоопасных или ядовитых веществ, жидкого или раскаленного металла и шлака, а также эксплуатация в химически активных средах.

Другие товары раздела «УСВ. Ручные тали с уменьшенной строительной высотой»:

|
770 553
Таль ручная шестерённая передвижная цепная ТРШБМУ-3,2 с малой строительной высотой и высотой подъема груза 3, 6, 9 и 12м.
|

|
770 552
Таль ручная шестерённая передвижная цепная ТРШБМУ-2,0 с малой строительной высотой и высотой подъема груза 3, 6, 9 и 12м.
|

|
770 554
Таль ручная шестерённая передвижная цепная ТРШБМУ-5,0 с малой строительной высотой и высотой подъема груза 3, 6, 9 и 12м.
|

|
770 550
Таль ручная шестерённая передвижная цепная ТРШАМУ-0,5 с малой строительной высотой и высотой подъема 3, 6, 9 и 12м.
|

|
770 555
Таль ручная шестерённая передвижная цепная ТРШБМУ-0,5 с малой строительной высотой и высотой подъема груза 3, 6, 9 и 12м.
|

|
770 551
Таль ручная шестерённая передвижная цепная ТРШБМУ-1,0 с малой строительной высотой и высотой подъема груза 3, 6, 9 и 12м.
|

|
770 557
с уменьшенной строительной высотой ТРШБУ - грузоподъемность 2,5–3,2 тонны
|

|